ZRSWK-16,ZRSWK-25,ZRSWK-40,ZRSWK-64,ZRSWK-16-DN20,自力式电控温度调节阀
概述
ZRSWK自力式电控温度调节阀(电动温度调节阀)由控制阀门 、执行器、传感器和毛细管等部件组成。自力式电控温度调节阀按用途分为加热型和冷却型。自力式电控温度调节阀( 适用于较大口径及导热油控制 ) ,该调节阀最大的特点只需普通 220V 电源,利用被调介质自身能量,直接对蒸汽、热水、热油与气体等介质的温度实行自动调节和控制,亦可使用在防止对过热或热交换场合,电动温度控制阀结构简单,操作方便,选用调温范围广、响应时间快、密封性能可靠,并可在运行中随意进行调节,因而广泛应用于化工、石油、食品、轻纺、宾馆与饭店等部门的热水供应。
自力式电控温度调节阀主要适用于液体、气体和蒸汽,在各种冷却系统中的温度控制。当被控介质温度升高,控制阀门关闭(加热型);当被控介质温度升高,控制阀门开启(冷却型)。
主要特点
控制精度高,工作稳定,安全可靠。
感温液体膨胀均匀,比例式调节控制。
温度设定操作简单,调节方便。
体积小、重量轻,安装方便。
工作原理
自力式电控温度调节阀由控制阀门、电动执行机构、温度传感器和温度调节器等部件组成,根据用户需要,分别有加热型与冷却型两种结构。加热型调节阀的结构与原理:工作前主阀芯处于半开位置,传感器处于自然状态。接上电源,主阀芯全开。介质由箭头方向流入主阀体、经阀芯对储热箱进行加热。当温度升到相应设定值时,传感器即产生相应线性信号输入一体化执行机构,随即驱动阀杆、阀芯产生位移,关闭主阀芯停止加热。当温度低于设定值时,传感器即产生线性信号输入一体化执行机构,驱使阀芯渐开,使介质按抛物线特性流入储热箱,进行加热直至设定值。这样被控介质始终在设定温度范围内被控制,从而达到控温目的。备注:常说的加热型、冷却型。在此阀中只要更换阀芯结构即可以实现。
主要技术参数
1、阀体
| 阀体形式 |
直通铸造球型阀 |
| 公称通径 |
DN15 ~ 200mm |
| 公称压力 |
PN1.6 、 2.5 、 4.0 、 6.4MPa |
| 法兰标准 |
GB/T9113 、 JB/T79 |
| 连接形式 |
法兰 (FF RF RTJ) 、焊接 (SW BW) 、螺纹 ( 适用于 1″ 以内 ) |
| 阀盖形式 |
标准型 -17 ~ + 230℃ 、高温型 +230 ~ + 450℃ |
| 压盖型式 |
螺栓压紧式 |
| 密封填料 |
V 型聚四氟乙烯填料、含浸聚四氟乙烯石棉填料、石棉纺织填料、石墨填料 |
2、阀内件
3、执行机构、传感器、毛细管
| 执行器型号 |
3810 系列、 PSL 系列 |
| 主要技术参数 |
电源电压: 220V/50Hz 、输入信号: 4-20mA 或 1-5V·DC 、输出信号: 4-20mA·DC |
| 防护等级:相当 IP55 、隔爆标志: ExdⅡBT4 、手操功能:手柄 |
| 环境温度: -25 ~ + 70℃ 、环境湿度: ≤95% |
| 温包、毛细管材料 |
H62 、 1Cr18Ni9Ti |
| 毛细管长度 |
3 米 、 5 米 、 10 米 |
| 温度控制范围 |
0~ 250℃ |
| 设定值偏差 |
± 2℃ |
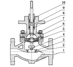
主要零件材料及内部结构图
| 1 |
阀体 |
WCB |
CF8 |
CF 8M |
CF 3M |

|
| 2 |
阀座 |
304 |
304 |
316 |
316L |
| 3 |
垫片 |
PTFE/ 金属石墨垫片
|
| 4 |
阀芯 |
304 |
304 |
316
|
316L
|
| 5 |
导向套 |
304 |
304 |
316 |
316L |
| 6 |
阀盖 |
WCB |
CF8 |
CF 8M |
CF 3M |
| 7 |
阀杆 |
304 |
304 |
316 |
316L |
| 8 |
填料 |
PTFE/ 柔性石墨 |
| 9 |
弹簧 |
65Mn |
| 10 |
螺母 |
304 |
304 |
316 |
316L |
额定行程与流通能力、泄露标准
| 公称通径 (mm) |
20 |
25 |
32 |
40 |
50 |
65 |
80 |
100 |
125 |
150 |
200 |
| 流通能力 (m3/h) |
7 |
10 |
16 |
25 |
40 |
63 |
100 |
160 |
250 |
400 |
630 |
| 额定行程 (mm) |
6 |
8 |
10 |
14 |
20 |
30 |
30 |
40 |
| 调节精度 (℃) |
± 1 ~ ± 5 |
| 使用介质 |
蒸汽、水、油、气体 |
允许
泄漏量 |
硬密封 |
10 -4 X 阀额定容量 |
| 软密封 |
“ 0 ” |
| 公称通径 DN(mm) |
20 |
25 |
32 |
40 |
50 |
65 |
80 |
100 |
125 |
150 |
200 |
| L |
PN16/25 |
181 |
184 |
200 |
222 |
254 |
276 |
298 |
352 |
410 |
451 |
600 |
| PN40 |
194 |
197 |
200 |
235 |
267 |
292 |
317 |
368 |
425 |
473 |
610 |
| PN64 |
206 |
200 |
210 |
251 |
286 |
311 |
337 |
394 |
440 |
508 |
650 |
| H |
PN16/25 |
52.5 |
57.5 |
75 |
75 |
85.5 |
92.5 |
100 |
110 |
142.5 |
158 |
170 |
| PN40 |
52.5 |
57.5 |
75 |
75 |
82.5 |
92.5 |
100 |
117.5 |
150 |
167.5 |
187.5 |
| PN64 |
65 |
40 |
85 |
85 |
90 |
102.5 |
107.5 |
125 |
172.5 |
195 |
207.5 |
| H1 |
132 |
132 |
158 |
170 |
179 |
214 |
221 |
234 |
270 |
294 |
331 |
|
H2
|
CHL |
465 |
465 |
465 |
465 |
465 |
560 |
560 |
560 |
560 |
560 |
788 |
| 3810 |
373 |
373 |
495 |
495 |
495 |
700 |
700 |
700 |
725 |
725 |
725 |
| D |
177 |
177 |
177 |
177 |
177 |
182 |
182 |
182 |
182 |
182 |
218 |
| R |
225 |
225 |
225 |
225 |
225 |
257 |
257 |
257 |
310 |
310 |
310 |
ZRSWK-16-DN20,ZRSWK-16-DN25,ZRSWK-16-DN32,ZRSWK-16-DN40,ZRSWK-16-DN50,ZRSWK-16-DN65,
ZRSWK-16-DN80,ZRSWK-16-DN100,ZRSWK-16-DN125,ZRSWK-16-DN150,ZRSWK-16-DN200,
ZRSWK-25-DN20,ZRSWK-25-DN25,ZRSWK-25-DN32,ZRSWK-25-DN40,ZRSWK-25-DN50,ZRSWK-25-DN65,
ZRSWK-25-DN80,ZRSWK-25-DN100,CCLAIR,ZRSWK-25-DN125,ZRSWK-25-DN150,ZRSWK-25-DN200,
ZRSWK-40-DN20,ZRSWK-40-DN25,ZRSWK-40-DN32,ZRSWK-40-DN40,ZRSWK-40-DN50,ZRSWK-40-DN65,
ZRSWK-40-DN80,ZRSWK-40-DN100,ZRSWK-40-DN125,ZRSWK-40-DN150,ZRSWK-40-DN200,
ZRSWK-64-DN20,ZRSWK-64-DN25,ZRSWK-64-DN32,ZRSWK-64-DN40,ZRSWK-64-DN50,ZRSWK-64-DN65,
ZRSWK-64-DN80,ZRSWK-64-DN100,ZRSWK-64-DN125,ZRSWK-64-DN150,ZRSWK-64-DN200,