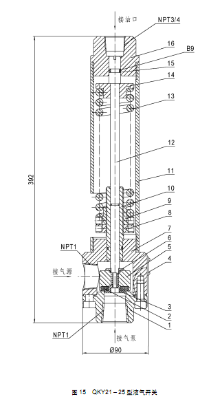
序号
名称
修理包
数量
订货号
备注
1
阀座
2
芯杆
3
连接套
4
支承套
5
O形密封圈
11.2*2.65
6
挡圈
7
弹簧
8
支承芯套
9
10*1.8
10
17*2.65
11
通气接头
12
内六角圆柱头螺钉
M6*18
13
M10*25
14
连接法兰
15
51.5*2.65
16
压套
17
密封座
18
密封垫
19
锁母
20
支承螺母
21
垫片