返回
安全阀
首页
>
了解产品
>
阀门 流体控制
>
通用阀门
>
安全阀
Q-L6,安全阀
2015-06-30 16:52
1042
信息概况
价格:
未填
型号:
Q-L6,
发货:
3天内
发送询价
Q-L6,安全阀
一、特点:
该阀在气压传动系统中,用于防止气动装置和设备 及管路等被破坏而限制回路及容器最高压力的阀。
二、图形符号:
三、型号说明:
四、技术参数
型号
Q-L6
公称通径mm
6
工作压力范围MPa
0.05~1.00
泄漏量Nml/min
150
工作温度°C
5~60°C
*
使用本阀时应对所需的开启压力进行调节,调节好后将螺帽锁紧,以免调节套松动影响系统的安全压力
。
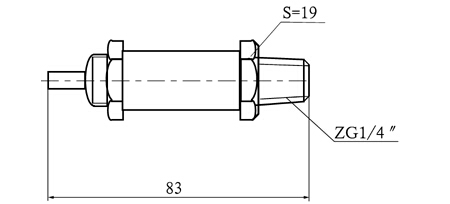
五、外形及安装尺寸
联系方式
姓名:销售员 1053(先生)
职位:销售员
电话:
13812199898
传真:0510-82326771
地区:江苏-无锡市
地址:
无锡市会北路28-135
邮编:214000
QQ:
2355802919
0
人关注
0
人点赞
举报
评分:
分
扫一扫访问当前网页
复制链接
二维码
短信
邮件
关闭
同类了解产品
HLAF-P6/1.0,HLAF-P8/1.0,HLAF-P10/1.0,HLAF-P15/1.0,HLAF-P20/1.0,安全阀/高压安全阀
YB-160,DZY-F25B,安全自锁阀
VR10P15,VR10P20,VR10P25,VR10P32,VR10P40,VR10P50,安全阀
Northman台湾北部精机,二通插裝式安全阀LSV16A10-30-20,LSV40A10-30-20,LSV25A20-30-20,LSV50A20-30V-20,LSV16H30-30-20,LSV32E10-30V-20,LSV40E20-30-20,LSV16A20-30V-10,LSV25A40-30V-10,LSV40H40-30V-10,LSV50H10-30V-10
CVP-XP027B0080,Danfoss恒压导阀
CVP-LP027B1101,Danfoss恒压导阀
取消
发送询价
分享好友
了解产品首页
频道列表
我要评论