QGBII-KF32,QGBII-KF40,QGBII-KF50,QGBII-KF63,QGBII-KF80,QGBII-KF100,QGBII-KF125,组合气缸
一、特点:
本产品是用QGBⅡ-K气缸加电磁换向阀组合而成。
结构紧凑,使用安装方便,应用广泛。温度范围0~55℃。
安装形式与安装尺寸与QGBⅡ系列气缸相同。
小于最小行程需要非标设计。
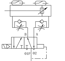
二 、图形符号:

三、型号说明:

四、技术参数:
|
缸径(Ф mm)
|
32
|
40
|
50
|
63
|
80
|
100
|
125
|
|
换向阀
|
通径(Ф mm)
|
4
|
4
|
4
|
6
|
6
|
12
|
12
|
|
电压
|
F.AC(50HZ)220V Fa.DC24V
|
|
磁性感应发讯器
|
AC、DC:24V~220V
|
|
最小行程
|
90
|
90
|
90
|
110
|
110
|
130
|
130
|
|
尺寸
|
h
|
91
|
98
|
108
|
132
|
152
|
177
|
207
|
|
g
|
169
|
170
|
170
|
175
|
178
|
211
|
214
|
五、外形及安装尺寸:
