QGBII-F32,QGBII-F40,QGBII-F50,QGBII-F63,QGBII-F80,QGBII-F100,QGBII-F125,带阀气缸
一、特点:
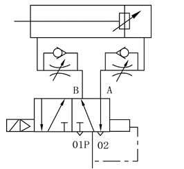
本产品是用QGBⅡ系列气缸和换向阀组合而成的。即将执行元件、换向控制元件、节流元件巧妙的组合一体,具有换向控制、调速节流多种功能。介质温度0~55℃。
安装尺寸与安装形式与QGBⅡ系列气缸相同。
小于最小行程需要非标设计。
二 、图形符号:

三、型号说明:

四、技术参数:
|
缸径(Ф mm)
|
32
|
40
|
50
|
63
|
80
|
100
|
125
|
|
换向阀
|
通径(Ф mm)
|
4
|
4
|
4
|
6
|
6
|
12
|
12
|
|
电压
|
F.AC(50HZ)220V Fa.DC24V
|
|
最小行程
|
90
|
90
|
90
|
110
|
110
|
130
|
130
|
|
尺寸
|
h
|
91
|
98
|
108
|
132
|
152
|
177
|
207
|
五、外形及安装尺寸:
