KAa-L32,KAb-L32,KAc-L32,KAa-L40,KAb-L40,KAc-L40,单向阀
|
一、特点:
1、单向阀是控制气流只向一个方向流动,而不能反向流动的阀。
2、其中a1、a2型单向阀是为铁路专门设计,其特点为耐低温,可加内置过滤网。
二、图形符号:

三、型号说明:

|
|
|
四、技术参数
|
型号
|
KAa
|
KAa1、KAa2
|
|
公称通径(mm)
|
10
|
15
|
20
|
25
|
32
|
40
|
50
|
32
|
|
有效截面积(mm²)
|
40
|
60
|
110
|
190
|
300
|
400
|
650
|
300
|
|
开启压力(MPa)
|
0.04
|
0.03
|
0.02
|
|
最高工作压力MPa
|
1.0
|
|
环境与介质温度°C
|
0~60
|
-40~200
|
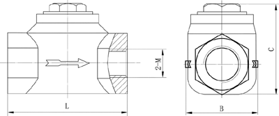
五、外形及安装尺寸:

|
型号
|
L
|
B
|
C
|
M
|
|
KAa-L10
|
90
|
51.5
|
68
|
G3/8"
|
|
KAa-L25
|
90
|
51.5
|
68
|
G1/2"
|
|
KAa-L20
|
110
|
60
|
78
|
G3/4"
|
|
KAa-L25
|
120
|
75
|
92
|
G1"
|
|
KAa-L32
|
135
|
80
|
103
|
ZG11/4"
|
|
KAa-L40
|
161
|
95
|
114
|
ZG11/2"
|
|
KAa-L50
|
161
|
95
|
114
|
ZG2"
|
|
型号
|
L
|
B
|
C
|
M
|
|
KAa1-L32
|
135
|
80
|
103
|
ZG11/4"
|
|
KAa2-L32
|
161
|
80
|
103
|
ZG11/4"
|
|