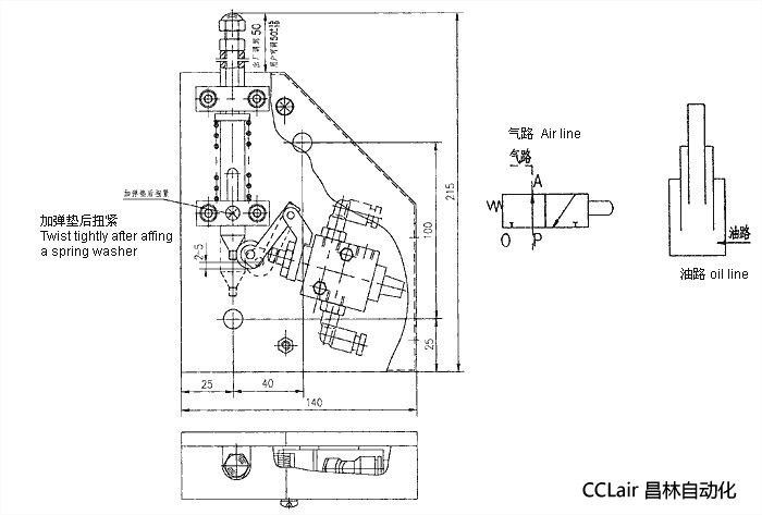
MU331-8606030,限位阀 用途与特点 “MU331-8606030”限位阀主要适用于载重汽车的自卸液压系统,当车厢举升到位后,自动切断举升动力气源,液压阀自动复位卸荷,从而确保液压系统工作安全可靠。 性能参数 型号 推杆伸出长度 及调整范围 mm 推杆总压缩行程 mm 公称通径 mm 工作介质 工作压力范围 Mpa 介质温度 ℃ 环境温度 ℃ MU331-8606030 50 +15 -10 ≤25 6 压缩空气 0~0.8 5~60 5~60 MU 331-8606030机能及安装尺寸 上图说明: 1、实线为限位阀非工作时的形态。 2、虚线为限位阀工作状态下推杆与滚轮的正确位置。 工作原理 本限位阀是有一组二位三通换向气阀和机械式自复位推杆装置组成,是装在液压系统中对自卸汽车的卸货翻斗升起位置起到精确定位。自卸汽车在正常装卸运行中,限位阀P腔与A腔是常通的。当卸货时,操作系统中气动液压阀(343B-8605062)、系统油缸升起达到卸货位置时,挡块压下推杆,这时P腔关闭,自卸车翻斗锁定在卸货位置,A腔压缩空气通过O腔进入大气。 使用与保养 1、去下罩壳,把限位阀安装固定在系统的相应位置上,当系统油缸升至工作位置时挡块压下,限位阀上部圆头螺栓约20~25mm,使推杆下端 圆锥体伸过气控阀滚轮中心约2~5mm,如图,推杆与滚轮的虚线位置所示,装好罩壳即可。 2、如挡板压下圆头螺栓的距离不够或过多,这时可松开推杆上端的锁紧螺母,扭转圆头螺栓,把推杆下端圆锥体调整到伸过滚轮中心约 2~5mm的位置上,然后拧紧推杆上端的锁紧螺母,装上罩壳螺钉,即可正常工作。 3、在运作中如出现异常现象,应停止运作,取下限位阀罩壳,清除各处尘污后在活动部位加入少量润滑油,使限位阀推杆及气控阀芯的滑动恢 复灵活,即可正常运作。