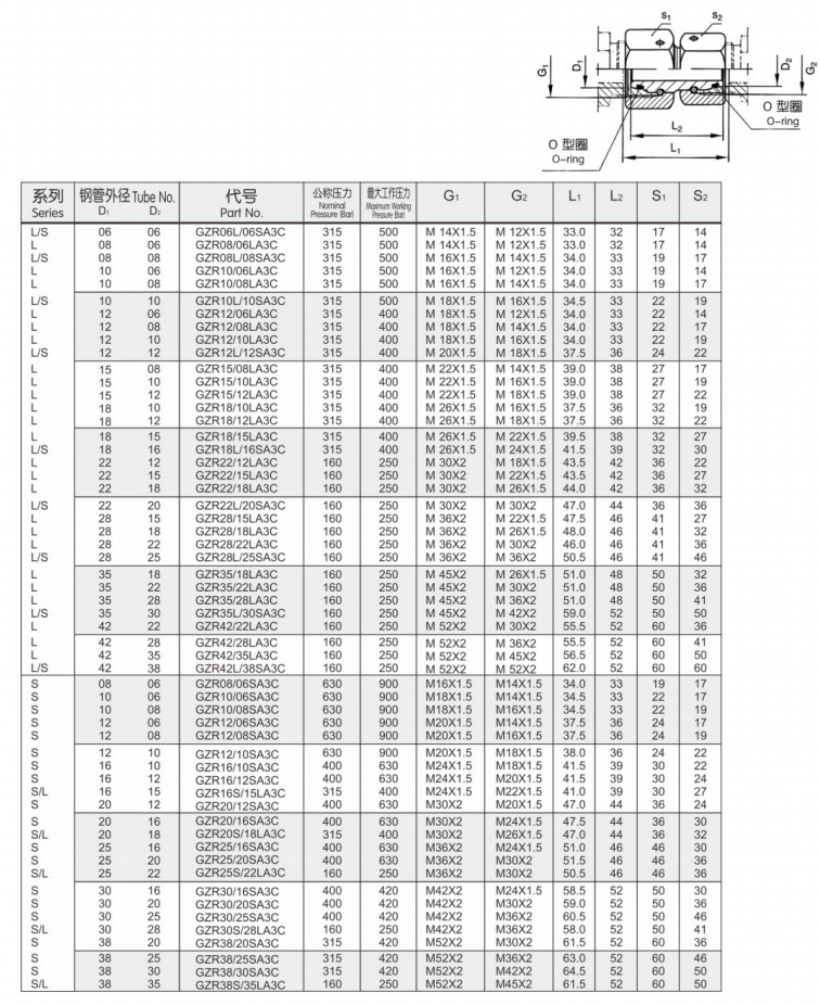
GZR06L/06SA3C,GZR10/08LA3C,GZR15/08LA3C,GZR08/06SA3C,组合变径接头

GZR08/06LA3C,GZR10/06LA3C,GZR10L/10SA3C,GZR12/06LA3C,GZR12/08LA3C,GZR12/08SA3C,
GZR12/10LA3C,GZR15/10LA3C,GZR15/12LA3C,GZR16/12SA3C,GZR18/10LA3C,GZR18/12LA3C,
GZR18/15LA3C,GZR18L/16SA3C,GZR20/16SA3C,GZR20S/18LA3C,GZR22/12LA3C,GZR22/15LA3C,
GZR22/18LA3C,GZR25/16SA3C,GZR25/16SVITA3C,GZR25/20SA3C,GZR28/15LA3C,GZR28/18LA3C,
GZR28/22LA3C,GZR35/18LA3C,GZR35/22LA3C,GZR35/28LA3C,GZR38/20SA3C,GZR42/22LA3C,
GZR10/06SA3C,GZR10/08SA3C,GZR12/06SA3C,GZR12/08SA3C,GZR12/10SA3C,GZR6/10SA3C,
GZR16/12SA3C,CCLAIR,GZR16S/15LA3CSA3C,GZR20/12SA3C,GZR20/16SA3C,GZR20S/18LA3C,
GZR25/16SA3C,GZR25/20SA3C,GZR25S/22LA3C,GZR30/16SA3C,GZR30/20SA3C,GZR30/25SA3C,
GZR30S/18LA3C,GZR38/20SA3C,GZR38/25SA3C,GZR38/30SA3C,GZR38S/35LA3C,